Skip to content Skip to sidebar Skip to footer

Vw Anti Theft System

How To Activate Anti Theft System Alarm On Vw Golf 7 Vcds Vag Tutorial Youtube

How To Activate Anti Theft System Alarm On Vw Golf 7 Vcds Vag Tutorial Youtube

Vw anti theft system. If Youve used a non-syncd smart key You can see this behavior. The anti-theft alarm system makes it more difficult for someone to break into or steal the vehicle. New volkswagen beetle anti-theft system.

The alarm will sound when the Beetles door or trunk has been opened before youve disabled the alarm. The Volkswagen Beetle comes standard with a remote anti-theft alarm system. It seems there are bands of T5 thieves around that work quite sophisticatedly.

After clearing the DTCs a single fault code remains. When diagnosing the issue a technician will use a computerized scanning tool to observe conditions within the anti theft system identify where the miscommunication originates and service that portion of the system. Unlocking the Volkswagen infotainment system using Anti Theft Code.

The anti-theft alarm system is automatically activated when the vehicle is locked by pressing the lock button on. Also please check out the statistics and reliability analysis of Volkswagen Jetta based on all problems reported for the Jetta. Now what you can do easily is make a fake laptop connector.

Special tools and workshop equipment required. You remove the battery cables from thee battery. You need to check the drivers door lock unit.

About Press Copyright Contact us Creators Advertise Developers Terms Privacy Policy Safety How YouTube works Test new features Press Copyright Contact us Creators. Whats the best anti theft system for a bus. Here is how to lock a modern VW without switching onactivating the anti-theft alarm see near the end for step-by-step instructions.

The most recently reported issues are listed below. I have been scheming a radio power cut-off system based on industrial remote control hardware.

Alarm System Anti Theft Ultrasonic Disable Switch Button For Audi A4 A6 A8 For Vw Golf 4 Mk4 Passat B5 4b0962109a Car Switches Relays Aliexpress

Alarm System Anti Theft Ultrasonic Disable Switch Button For Audi A4 A6 A8 For Vw Golf 4 Mk4 Passat B5 4b0962109a Car Switches Relays Aliexpress

Alarm System Anti Theft Ultrasonic Disable Switch Button For Audi A4 A6 A8 For Vw Golf 4 Mk4 Passat B5 4b0962109a Car Switches Relays Aliexpress

Alarm System Anti Theft Ultrasonic Disable Switch Button For Audi A4 A6 A8 For Vw Golf 4 Mk4 Passat B5 4b0962109a Car Switches Relays Aliexpress

Vw Anti Theft Tech Spitzer Volkswagen Amherst

Vw Anti Theft Tech Spitzer Volkswagen Amherst

5q0951605a Original Siren Dwa Theft Alarm System Vw Touran Ii 5t Golf 7 Vii For Sale Online Ebay

5q0951605a Original Siren Dwa Theft Alarm System Vw Touran Ii 5t Golf 7 Vii For Sale Online Ebay

Volkswagen Tiguan Service And Repair Manual Anti Theft Alarm System Interior Lights Switches

Volkswagen Tiguan Service And Repair Manual Anti Theft Alarm System Interior Lights Switches

Vw Anti Theft System Keyless Entry Volkswagen Uk

Vw Anti Theft System Keyless Entry Volkswagen Uk

Vw S Modern Day Anti Theft Device Automotive News

Vw S Modern Day Anti Theft Device Automotive News

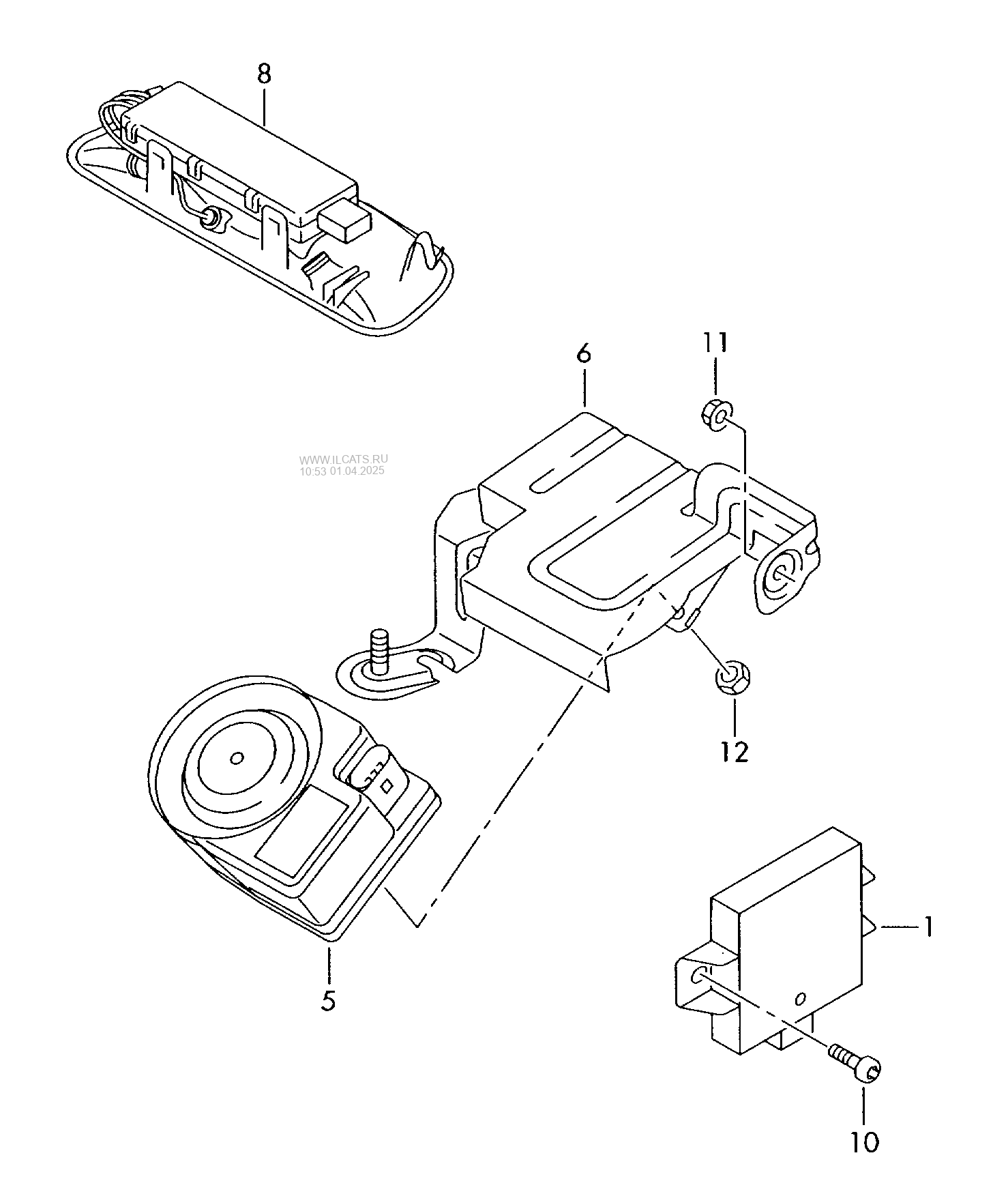
Volkswagen Workshop Manuals Golf Mk3 Vehicle Electrics Electrical System Lights Lamps Switches Inside Anti Theft System Servicing Anti Theft Alarm Ata Assembly Overview Anti Theft Alarm System Ata

Volkswagen Workshop Manuals Golf Mk3 Vehicle Electrics Electrical System Lights Lamps Switches Inside Anti Theft System Servicing Anti Theft Alarm Ata Assembly Overview Anti Theft Alarm System Ata

Alarm System Anti Theft Ultrasonic Disable Switch Button For Audi A4 A6 A8 For Vw Golf 4 Mk4 Passat B5 4b0962109a Car Switches Relays Aliexpress

Alarm System Anti Theft Ultrasonic Disable Switch Button For Audi A4 A6 A8 For Vw Golf 4 Mk4 Passat B5 4b0962109a Car Switches Relays Aliexpress

Volkswagen Tiguan 2016 2017 Anti Theft Alarm System Vag Etka Online Nemiga Com

Volkswagen Tiguan 2016 2017 Anti Theft Alarm System Vag Etka Online Nemiga Com

Volkswagen Tiguan Service And Repair Manual Anti Theft Alarm System Interior Lights Switches

Volkswagen Tiguan Service And Repair Manual Anti Theft Alarm System Interior Lights Switches

Anti Theft System For 2019 Volkswagen Arteon Vw Parts Online

Anti Theft System For 2019 Volkswagen Arteon Vw Parts Online

Cbx Rns510 Accessories Volkwagen Anti Theft Alarm Retrofitting

Cbx Rns510 Accessories Volkwagen Anti Theft Alarm Retrofitting

Volkswagen Alarm Kit Car Security System Vw Service And Parts

Volkswagen Alarm Kit Car Security System Vw Service And Parts

Vw Golf 5 Anti Theft System Alarm Activate Attempt 50 Success Youtube

Vw Golf 5 Anti Theft System Alarm Activate Attempt 50 Success Youtube

Car Engine Immobilizer Security Alarm System Anti Theft Anti Stealing Alarm System For Tesla Model 3 Bmw Ford Vw Volkswagen Audi Burglar Alarm Aliexpress

Car Engine Immobilizer Security Alarm System Anti Theft Anti Stealing Alarm System For Tesla Model 3 Bmw Ford Vw Volkswagen Audi Burglar Alarm Aliexpress

How To Enable And Disable Alarm Beep On A Volkswagen Youtube

How To Enable And Disable Alarm Beep On A Volkswagen Youtube

Cbx Rns510 Accessories Volkwagen Anti Theft Alarm Retrofitting

Cbx Rns510 Accessories Volkwagen Anti Theft Alarm Retrofitting

How To Deactivate Anti Theft Security Alarm System In Volkswagen Vento Highline Variant Youtube

How To Deactivate Anti Theft Security Alarm System In Volkswagen Vento Highline Variant Youtube

Vw Golf Plus Obd Portector Obd Port Protection Anti Theft Security System Ebay

Vw Golf Plus Obd Portector Obd Port Protection Anti Theft Security System Ebay

Alarm System Anti Theft Ultrasonic Disable Switch Button For Audi A4 A6 A8 For Vw Golf 4 Mk4 Passat B5 4b0962109a Car Switches Relays Aliexpress

Alarm System Anti Theft Ultrasonic Disable Switch Button For Audi A4 A6 A8 For Vw Golf 4 Mk4 Passat B5 4b0962109a Car Switches Relays Aliexpress

Cbx Rns510 Accessories Volkwagen Anti Theft Alarm Retrofitting

Cbx Rns510 Accessories Volkwagen Anti Theft Alarm Retrofitting

Anti Theft Alarm System Vw Passat

Anti Theft Alarm System Vw Passat

Anti Theft Alarm System Polo Sedan Pos 2005 Year Volkswagen Brazil 951010

Anti Theft Alarm System Polo Sedan Pos 2005 Year Volkswagen Brazil 951010

Volkswagen Touareg Anti Theft Alarm System Eng Manualzz

Volkswagen Touareg Anti Theft Alarm System Eng Manualzz

Alarm System Anti Theft Ultrasonic Disable Switch Button For Audi A4 A6 A8 For Vw Golf 4 Mk4 Passat B5 4b0962109a Car Switches Relays Aliexpress

Alarm System Anti Theft Ultrasonic Disable Switch Button For Audi A4 A6 A8 For Vw Golf 4 Mk4 Passat B5 4b0962109a Car Switches Relays Aliexpress

Vw Passat Cc Obd Portector Obd Port Ptotection Anti Theft Security System Ebay

Vw Passat Cc Obd Portector Obd Port Ptotection Anti Theft Security System Ebay

Volkswagen Anti Theft Car Alarm Systems For Volkswagen For Sale Ebay

Volkswagen Anti Theft Car Alarm Systems For Volkswagen For Sale Ebay

Anti Theft Control Module Location Vw Vortex Volkswagen Forum

Anti Theft Control Module Location Vw Vortex Volkswagen Forum

Anti Theft Alarm System Sensor For Interior Monitoring Vw Amarok

Anti Theft Alarm System Sensor For Interior Monitoring Vw Amarok

Volkswagen Anti Theft Car Alarm Systems For Volkswagen For Sale Ebay

Volkswagen Anti Theft Car Alarm Systems For Volkswagen For Sale Ebay

Alarm System Anti Theft Ultrasonic Disable Switch Button For Audi A4 A6 A8 For Vw Golf 4 Mk4 Passat B5 4b0962109a Car Switches Relays Aliexpress

Alarm System Anti Theft Ultrasonic Disable Switch Button For Audi A4 A6 A8 For Vw Golf 4 Mk4 Passat B5 4b0962109a Car Switches Relays Aliexpress

Cbx Rns510 Accessories Volkwagen Anti Theft Alarm Retrofitting

Cbx Rns510 Accessories Volkwagen Anti Theft Alarm Retrofitting

Cbx Rns510 Accessories Volkwagen Anti Theft Alarm Retrofitting

Cbx Rns510 Accessories Volkwagen Anti Theft Alarm Retrofitting

Vw Touran Tow Away Anti Theft Alarm System Button Deactivation Switch 1t0962109 Ebay

Vw Touran Tow Away Anti Theft Alarm System Button Deactivation Switch 1t0962109 Ebay

How To Shut Off The Anti Theft Device In Your Car

How To Shut Off The Anti Theft Device In Your Car

Sparesafe Spare Wheel Anti Theft Device For Vw T5 T6 T6 1 Transporter Caravelle Kombi California Caddy Amazon Co Uk Automotive

Sparesafe Spare Wheel Anti Theft Device For Vw T5 T6 T6 1 Transporter Caravelle Kombi California Caddy Amazon Co Uk Automotive

Volkswagen Tiguan Service And Repair Manual Anti Theft Alarm System Interior Lights Switches

Volkswagen Tiguan Service And Repair Manual Anti Theft Alarm System Interior Lights Switches

Vw Promotes The Jetta Gli S Manual Transmission As An Anti Theft Device Carscoops

Vw Promotes The Jetta Gli S Manual Transmission As An Anti Theft Device Carscoops

Volkswagen 7p6962109 Touareg 7p5 2013 Button For Deaktivation Of Anti Theft System

Volkswagen 7p6962109 Touareg 7p5 2013 Button For Deaktivation Of Anti Theft System

1pc Car Universal Solar Anti Theft Alarm Led Light Imitation Security System Warning Theft Flash Blinking Red Lamp For Vw Golf Signal Lamp Aliexpress

1pc Car Universal Solar Anti Theft Alarm Led Light Imitation Security System Warning Theft Flash Blinking Red Lamp For Vw Golf Signal Lamp Aliexpress

Vw Golf Mk5 2004 2008 Anti Theft Control Unit For Alarm System 1k0907719 Ebay

Vw Golf Mk5 2004 2008 Anti Theft Control Unit For Alarm System 1k0907719 Ebay

Vw Golf Mk7 Mk7 5 R Gti Obd Portector Obd Port Protection Anti Theft Security System Vw Parts International

Vw Golf Mk7 Mk7 5 R Gti Obd Portector Obd Port Protection Anti Theft Security System Vw Parts International

Vw Immobilizer Technical Information And Problem Troubleshooting

Vw Immobilizer Technical Information And Problem Troubleshooting

Oem 1k0 951 605c Vw Car Security Alarm Speaker Horn For Vw Tiguan Sharan Scirocco B7l Cc Skoda Ultrasonic Anti Theft System Speaker Quotes Speakers For Home Theaterspeaker With Aliexpress

Oem 1k0 951 605c Vw Car Security Alarm Speaker Horn For Vw Tiguan Sharan Scirocco B7l Cc Skoda Ultrasonic Anti Theft System Speaker Quotes Speakers For Home Theaterspeaker With Aliexpress

Anti Theft Alarm System Vw Caddy

Anti Theft Alarm System Vw Caddy

Vw Immobilizer Technical Information And Problem Troubleshooting

Vw Immobilizer Technical Information And Problem Troubleshooting

Anti Theft System Control Signal Vw Vortex Volkswagen Forum

Anti Theft System Control Signal Vw Vortex Volkswagen Forum

Volkswagen Workshop Manuals Golf Mk3 Vehicle Electrics Electrical System Lights Lamps Switches Inside Anti Theft System Servicing Anti Theft Alarm Ata Removing And Installing Anti Theft Alarm System Contact Switch F120

Volkswagen Workshop Manuals Golf Mk3 Vehicle Electrics Electrical System Lights Lamps Switches Inside Anti Theft System Servicing Anti Theft Alarm Ata Removing And Installing Anti Theft Alarm System Contact Switch F120

Also please check out the statistics and reliability analysis of Volkswagen Jetta based on all problems reported for the Jetta.

Anti theft system failure can be extremely troublesome to diagnose without dealer software however it is not impossible. 262661 - Sensor for Anti-Theft Alarm System B1330 F0 009 - Data Record Invalid. This is a more common problem where the switch fails and the anti-theft system doesnt get disarmed by the door unlocking. This system is equipped with an alarm keypad and a chipped key that you can use to control the alarm. Unlock the drivers side door using the key and switch the ignition to the ON position. Vw designs are made with an immobilizer anti-theft system that disables the engine. Posted on Feb 12 2009. Anti-Theft Alarm System Activating and Deactivating. When diagnosing the issue a technician will use a computerized scanning tool to observe conditions within the anti theft system identify where the miscommunication originates and service that portion of the system.


When diagnosing the issue a technician will use a computerized scanning tool to observe conditions within the anti theft system identify where the miscommunication originates and service that portion of the system. Anti-theft coding is equipped with protection code number deactivating electronic anti-theft system. Thank you for your answers. Thanks _____ 1971 westy An idea that is developed and put into action is more important than an idea that exists only as an idea. So I am posting this in the hope that it helps someone else in the future. Also please check out the statistics and reliability analysis of Volkswagen Jetta based on all problems reported for the Jetta. New volkswagen beetle anti-theft system.

Post a Comment for "Vw Anti Theft System"